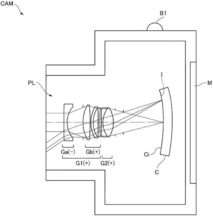
مطمئناً میدانید گاهی عکاسی با حسگرهای کاملاً صاف چه مشکلاتی را پیش رو میآورد و لبهها و گوشهکنار تصویر تار ثبت میشود. گاهی برای اصلاح این مشکلات باید لنزهایی تهیه شود که شامل عدسیهای ED و غیر کروی، با پوششهای Super Intergrated و Nano crystal میشود تا این مشکلات را اصلاح کند. اما خبری که اخیراً به دست رسیده و دنیای عکاسی را به شور انداخته دربارهی تغییری است که نیکون در حسگر دوربینهایش ایجاد نموده و برای آنها در حال طراحی لنزهای مخصوص است. شرکت نیکون در حال طراحی حسگرهای محدبی است که به کمک آنها تصاویر کاملاً شارپ و باکیفیت ثبت میشوند و این حسگرهای محدب در دوربینهای بدون آینه لحاظ خواهند شد.
با توجه به خبرهای جدید منتشر شده از شرکت نیکون، هنوز دقیقاً مشخص نشده که لنز Nikon 35mm F2.0 برای دوربینهای DSLR است یا بدون آینه. اما با توجه به مشخصات فنی گزارش شده از این شرکت، لنز Nikon 35mm F2.0 برای کار با دوربینهایی با حسگرهای محدب و فولفریم طراحی شده است و مطابق اخباری که منتشر شده، حسگرهای محدب نیز در دوربینهای بدون آینه لحاظ میشوند.
با وجود این حسگرهای جدید محدب در دوربینهای بدون آینهی نیکون، سؤالی که ممکن است پیش آید این است که چه زمانی این دوربینها به استفادهی عمومی رسیده و روانهی بازار خواهد شد و چه کسی اولین دوربین با حسگر محدب را خریداری خواهد کرد؟ در دنیای عکاسی امروز، مطمئناً همه به سمت این دوربینها با این نوع حسگرها کشیده میشوند و برای ثبت عکسهای باکیفیت و با شارپنس لبه به لبه، شروع به خرید این ابداع نوین شرکت نیکون خواهند شد.

