همانطور که دیروز به اطلاعتان رساندیم، شرکت نیکون در حال طراحی یک لنز مخصوص دوربینهایی با سنسورهای محدب میباشد. حال به اطلاع میرسانیم که شرکت سونی در حال طراحی یک لنز تلهی 400 میلیمتری برای دوربینهایی با سنسور محدب میباشد.
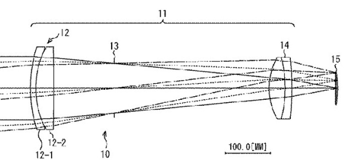
این لنز برای دوربینهایی با سنسور محدب به سایز 645 ساخته شده که از سنسور موجود در دوربینهای Fuji GFX-50s و Hasselblad X1D-50c خیلی بزرگتر میباشد. این لنز تک فوکوس است و قابلیت تعویض در دوربینها را دارد. همچنین به لطف طراحی محدب سنسورها، دستیابی به MTF بالا، قابل دسترسی است.
در اینجا دو نمودار درج شده تا اگر دربارهی ساختار اپتیکال این لنزها سوالی دارید، به آنها نگاهی بیندازید. این لنز در ظاهر طراحی بسیار سادهای دارد که این به لطف طراحی سنسورهای محدب میباشد.
با توجه به خبرهای منتشر شده، این نمودار طولی نمیکشد که به واقعیت تبدیل میگردد. هرچند، با توجه به خبرهای منتشر شده توسط شرکت سونی، این لنز قرار است هم در دوربینهایی با سنسورهای محدب و هم در دوربینهای قطع متوسط به کار گرفته شود و مطمئنا این خبر عدهی زیادی از علاقهمندان به کار با دوربینهای دیجیتالی را خوشحال خواهد کرد.


